Sertifikuoti laipsniai konteinerių gabenimui
Sertifikuoti laipsniai konteinerių gabenimui yra specializuoti, itin patvarūs įrenginiai, leidžiantys tiksliai, saugiai ir efektyviai išlyginti ISO gabenimo konteinerius ant bet kokio, net labai nelygaus paviršiaus. Jų pagrindinė funkcija – užtikrinti stabilumą, konstrukcinį tvirumą ir pratęsti konteinerio tarnavimo laiką, perkeliant jo svorį į tvirtas, aukščio reguliavimo pagrindą.
Šiuolaikinė logistika, statyba ir alternatyvus konteinerių naudojimas (moduliniai pastatai, mobilūs sandėliai, dirbtuvės, gyvenamieji vienetai) reikalauja maksimalaus saugumo ir greito montavimo. Laipsniai yra pagrindinė priedų dalis, leidžianti:
- Pašalinti rėmo deformaciją ir užkirsti kelią durų atidarymo problemoms
- Sumažinti konteinerio apvertimo ar nusėdimo riziką
- Užkirsti kelią drėgmės kaupimosi ir grindų-rėmo korozijai
HZ CONTAINERS s.r.o. yra šių sistemų pagrindinis tiekėjas Čekijai, Slovakijai ir Vidurio Europai. Asortimentas apima savitarpio tvirtas sprendimus, žinomus savo inovacijomis, mažu svoriu ir greitą montavimą.
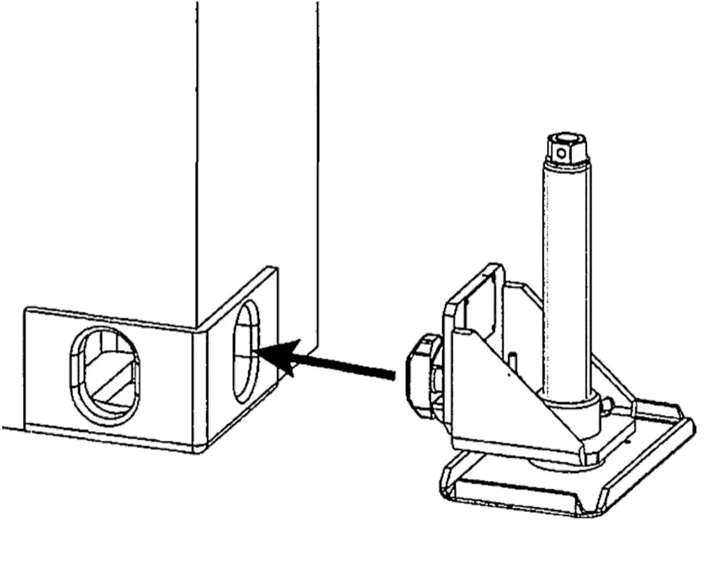
Pagrindinės charakteristikos ir veikimo principas
Laipsnių veikimo principas
| Žingsnis | Aprašymas |
|---|---|
| Tvirtinimas | Kiekvienas laipsnis pritvirtinamas prie apatinio kampinio liejinio (ISO kampinis lietas), kuris skirtas perkelti kraštutines jėgas pagal DIN ISO 1161. |
| Kėlimas ir reguliavimas | Laipsniai mechaniškai reguliuojami (rankinis ratas arba veržlė). Kiekvienas kampas gali būti atskirai ir tiksliai reguliuojamas pagal aukštį. |
| Išlyginimas | Naudojant dvasios lygį (idealiai lazerinį) visi keturi kampai sulygiuojami į vieną plokštumą. Išlyginimas yra būtinas tinkamam durų veikimui ir statikai. |
| Stabilizavimas | Po reguliavimo laipsniai suteikia stabilų pagrindą, kuris užkerta kelią konteinerio judėjimui, nusėdimui ar apvertimui. |
Kodėl konteinerio išlyginimas yra būtinas?
- Konstrukcinis tvirumas – Netinkamai palaikomas konteineris gali deformuotis, dėl to atsiranda siūlių įtrūkimai ir statikos gedimas.
- Durų funkcionalumas – Susuktasis rėmas neleidžia durim užsidaryti ar atidaryti.
- Saugumas – Apvertimo rizika stipriam vėjui arba netolygiai apkrovai.
- Korozijos atsparumas – Konteinerio pakėlimas leidžia orui cirkuliuoti, nustolinat vandenį ir labai sulėtina rūdijimą.
Sertifikuotų laipsnių tipai
1. Patentiniai ConFoot laipsniai

- Pagaminti Suomijoje iš aukštos kokybės plieno
- Itin mažas svoris (24 kg kiekvienas – vienas žmogus gali nešti)
- Apkrovos talpa iki 34 t komplektui
- Patentinis spaustuvo mechanizmas – greitas montavimas be sunkios technikos
- CE sertifikatas (2006/42/EC)
- Variantai:
- ConFoot CF – standartinis gabenimas (sandėliavimas, statyba)
- ConFoot CFP – optimizuotas pakrovimo rampos sujungimui
- ConFoot CFU – su hidraulika lengvesniam kėlimui ir nuleidimui
Unikalūs privalumai:
- Montavimas per 5 minutes vieno žmogaus
- Leidžia nepriklausomai pakrauti/iškrauti konteinerį be kranu
- Lengva sandėliavimas ir transportavimas
- Atsparumas ekstremalioms klimato sąlygoms
2. Standartinės išlyginimo pagalvės

- Pagaminta iš karštai cinkuoto plieno (didesnė korozijos atsparumas)
- Apkrovos talpa 12 000 kg komplektui
- Svoris 4,5 kg kiekvienas – lengvas gabenimas
- Reguliavimo diapazonas iki 260 mm
- Variantai:
- Be spynos – grynasis išlyginimas, reikalingas papildomas tvirtinimas
- Su spyna (sukamoji spyna) – stabilus sujungimas su kampiniu lietu (užkerta kelią poslinkiui, tinkamas sukrauti)
Privalumai:

- Ekonomiška sprendimas nuolatiniam arba laikiniam montavimui
- Aukšta pakartotinio naudojimo galimybė
- Puikus kainos ir kokybės santykis
3. Sertifikuoti laipsniai ekstremalioms apkrovoms
- Apkrovos talpa iki 10 000 kg komplektui
- Karštai cinkuoto plieno ir anodizuoto aliuminio kombinacija
- Rankinis variklis (rankinis ratas)
- Maksimalus kėlimas 200 mm
- Pilna suderinamumas su DIN ISO 1161
- Patvarūs pramonės ir statybos naudojimui
Pagrindinių parametrų palyginimas
| Parametras | ConFoot CF | HZ CONTAINERS standartinis | HZ CONTAINERS sertifikuotas |
|---|---|---|---|
| Apkrovos talpa (4 vnt. komplektas) | 34 000 kg | 12 000 kg | 10 000 kg |
| Reguliavimo diapazonas | 1043–1448 mm | iki 260 mm | iki 200 mm |
| Svoris (vienam gabalas) | 24 kg | 4,5 kg | 9,45 kg |
| Medžiaga | Aukštos stiprumo plienas | Karštai cinkuotas plienas | Cinkuotas plienas, aliuminis |
| Pagrindinis privalumas | Greitas gabenimas | Universalumas, kaina | Tvirumas |
| Sertifikatas | CE | — | DIN ISO 1161 |
| Tinkamas naudojimas | Logistika, laikinas montavimas | Sandėliai, statybvietės | Pramonė, statyba |
Sertifikatai, standartai ir medžiagos
- DIN ISO 1161 – apibrėžia kampinių lietų matmenis ir stiprumo parametrus, kurie yra labai svarbūs saugiam laipsnių tvirtinimui.
- ISO 668 – nustato pagrindinius gabenimo konteinerių matmenis ir konstrukcinius reikalavimus.
- CE sertifikatas – reikalingas mechaniniams įrenginiams ES; garantuoja saugumą, patvarumą ir atitiktį teisės aktams.
- Karštai cinkuotas plienas – paviršiaus apdorojimas, kuris žymiai pratęsia tarnavimo laiką ir apsaugo nuo korozijos (ypač svarbu lauke ir ilgalaikio vandens kontakto metu).
- Anodizuotas aliuminis – naudojamas pasirinktuose tipuose svoriui sumažinti, išlaikant aukštą stiprumą.
Detalus montavimo procedūras
Paruošimas
- Vietos valymas – pašalinti akmenys, augalija, išlyginti paviršių. Ant minkšto grunto rekomenduojama žvyro sluoksnis.
- Konteinerio kampo pakėlimas – naudoti hidraulinį domkratą (tik po kampiniu lietu).
Laipsnių montavimas
- Laipsnio įdėjimas – padėti laipsnį į kampinio liejinio angą.
- Aukščio reguliavimas – suktis veržlę, rankinį ratą arba hidraulinį mechanizmą aukščiui nustatyti.
- Pakartoti visiems keturiems kampams.
Patikra ir galutiniai reguliavimai
- Plokštumos patikra – naudoti ilgą dvasios lygį arba lazerinį lygį visiems kampams sulygiuoti.
- Tvirtinimas – laipsniai su spyna fiksuoja konteinerį nuo poslinkio. Pagalvėms be spynos naudoti papildomus inkarų arba dirželius.
Svarbios saugumo taisyklės
- Niekada nestovėti po netvirtintu konteineriu!
- Atlikti visus kėlimus laipsniškai ir stebėti stabilumą.
- Po montavimo visada patikrinti durų veikimą ir bendrą stabilumą.
Privalumai prieš tradicinius metodus
- Greitis – montavimas < 30 min vieno žmogaus
- Tikslumas – milimetro reguliavimas net ant nuožulnaus arba nelygaus grunto
- Pakartotinis naudojimas – laipsniai gali būti lengvai išmontuoti ir perkelti
- Nėra nuolatinių žemės intervencijų – skirtingai nuo betoninių pagalvių, pamatų arba medinių pagrindų
- Ilgas tarnavimo laikas – paviršiaus apdorojimas apsaugo nuo korozijos 20+ metų
- Ekologiška – minimalus žemės sutrikdymas, nėra atliekų statybinių medžiagų
Platesnis kontekstas – sisteminė konteinerių sprendimas
Laipsniai yra tik dalis išsamios konteinerių priedų sistemos. Didesnėms modulinėms surinkoms taip pat svarbūs:
- Horizontalūs jungtuvai (Bridge Fitting, Lashing Bridge Fitting) – būtini saugiam konteinerių sujungimui šonais.
- Sukamosios spynos sistemos – konteinerių sukrauti ir tvirtinti ant šasio arba pamatų.
Tinkamo išlyginimo ir jungties elementų kombinacija užtikrina statinį saugumą ir ilgalaikį stabilumą net esant ekstremalioms apkrovoms.
Dokumentacija
Prieinama tinkamam naudojimui:
- Techniniai brėžiniai (matmenys, ISO kampinio liejinio suderinamumas)
- Montavimo vadovai (žingsnis po žingsnio procedūros)
- Fotografinė dokumentacija iš praktikos



Susiję terminai
- Kampinis lietas – standartizuotas plieno elementas pagal DIN ISO 1161 konteinerių kėlimui, sukrauti, tvirtinti ir išlyginti.
- Sukamoji spyna – spynos mechanizmas saugiam konteinerių sujungimui vienas su kitu arba su šasiu.
- Dunnage – medinės arba plastikinės tarpinės laikinajam išlyginti (mažiau tikslus, trumpalaikis sprendimas).
- Corten plienas – orui atsparus plienas, naudojamas konteinerių rėmams ir sienoms.
Dažnai užduodami klausimai (DUK)
Kaip dažnai turėtų būti tikrinamas konteinerio išlyginimas?
Bent du kartus per metus ir po ekstremaliųjų oro sąlygų arba apkrovos pokyčių.
Ar laipsniai gali būti pakartotinai naudojami?
Taip, visi tipai yra skirti ilgalaikiam pakartotiniam naudojimui.
Ką daryti, jei konteinerio durys neatsidaro?
Greičiausiai priežastis yra blogas išlyginimas – patikrinti ir reguliuoti laipsnių aukščius.
Koks yra geriausias pagrindas nuolatiniam konteinerio montavimui?
Sutankinta žvyro sluoksnis kartu su sertifikuotais laipsniais. Gyvenamųjų vienetų atveju rekomenduojama betoninė plokštė.
Sertifikuoti laipsniai konteinerių gabenimui yra būtini visiems, kurie dirba su ISO konteineriais ir vertina saugumą, ilgaamžiškumą ir veiklos efektyvumą. Patentinės sistemos (pvz., ConFoot) ir tvirtos plieno pagalvės iš HZ CONTAINERS leidžia greitą, tikslų ir saugų montavimą be sunkios technikos. Tinkamo sprendimo pasirinkimas apsaugo jūsų investiciją ir suteikia maksimalų lankstumą konteinerių gabenimui ir ilgalaikiam naudojimui.
Kitos konteinerio naujienos...
Ar dega transporto konteineris?
Pats konteineris nedega, tačiau tvirta ir sandari konstrukcija sukuria idealią aplinką katastrofiškiems gaisrams kilti ir plisti, jei viduje yra degių arba reaktyvių krovinių. Konteinerinių laivų gaisrų problema yra sudėtinga ir reikalauja visos logistikos grandinės – siuntėjo, vežėjo, laivybos bendrovės ir reguliavimo institucijos – bendradarbiavimo. Didesnio saugumo raktas yra griežtas reglamentų laikymasis, technologinės inovacijos ir atsakingas požiūris – bandymai sutaupyti deklaruojant gali sukelti šimtų milijonų nuostolių ir kelti pavojų žmonių gyvybėms.
Kaip teisingai pasirinkti laivų konteinerį?
Tinkamo gabenimo konteinerio pasirinkimas yra sudėtingas sprendimas, kuriam įtakos turi naudojimo paskirtis, biudžetas, pageidaujamas tarnavimo laikas ir teisiniai reikalavimai. Visada nustatykite aiškius prioritetus, paprašykite asmeninio patikrinimo, patikrinkite konteinerio istoriją ir pardavėjo rekomendacijas. Investicija į aukštesnės kokybės konteinerį atsipirks mažesnėmis priežiūros išlaidomis, ilgesniu tarnavimo laiku ir didesniu saugumu. Jei planuojate pertvarkyti pastatą į gyvenamąjį ar komercinį, nepamirškite apie statybos leidimo poreikį, grindų modifikavimą ir izoliacijos nuo drėgmės bei temperatūros svyravimų užtikrinimą.
Tinklas – ABS Ventiliacijos Dangtelis
ABS ventiliacijos dangtis yra pagrindinis konstrukcinis elementas, esantis standartinių sausųjų furgonų išorėje. Jo pagrindinė funkcija – užtikrinti pasyvų oro mainą tarp konteinerio vidaus ir išorės.
Šaldytuvinių konteinerių gedimai ir dažniausi defektai
Šaldymo konteineriai yra saugaus ir efektyvaus temperatūrai jautrių prekių gabenimo pagrindas. Dėl šiuolaikinių technologijų, nuolatinės priežiūros ir nuotolinio stebėjimo jų gedimų skaičių galima gerokai sumažinti. Dažniausiai pasitaikančius defektus – nuo temperatūros svyravimų iki mechaninių ir elektrinių gedimų bei žmogiškųjų klaidų – galima išspręsti sisteminga prevencija, reguliariomis patikromis (PTI), operatorių mokymais ir telematikos technologijų naudojimu.